锘?!DOCTYPE html PUBLIC "-//W3C//DTD XHTML 1.0 Transitional//EN" "http://www.w3.org/TR/xhtml1/DTD/xhtml1-transitional.dtd">

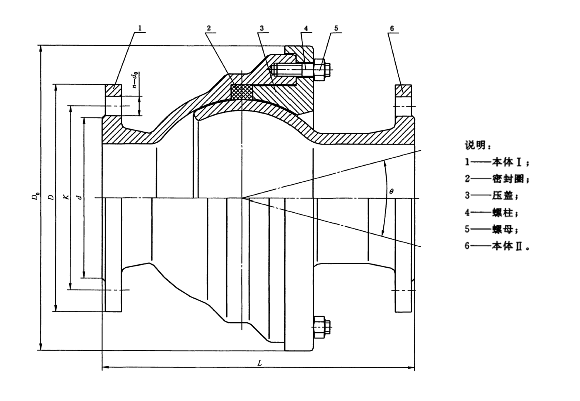
鐞冨艦琛ュ伩鍣ㄧ殑瀹夎鏂瑰紡
1銆佺洿綰跨孌佃兘鍏呭垎鍙戞尌鐞冨艦琛ュ伩鍣ㄨˉ鍋胯兘鍔涘ぇ鐨勭壒鐐廣€傛牴鎹瀛愯鏍間笌綆″瓙鐨勫垰鎬э紝鍙皢綆¢亾涓ょ鍥哄畾鏀灦鐨勮窛紱誨畾涓?0m~70m錛屽畨瑁呬竴緇勭悆褰㈣ˉ鍋垮櫒錛屽叾瀹夎鏂瑰紡鍙互姘村鉤瀹夎錛屼篃鍙互鍨傜洿瀹夎銆?br/>2銆佺敱浜庤繖縐嶅瀷寮忓叾鎶樺眻瑙掑€煎澶т竴鍊嶏紝鍙緝鐭悆蹇冭窛錛屽厖鍒嗗彂鎸ョ悆褰㈣ˉ鍋垮櫒鐨勮ˉ鍋胯兘鍔涖€傛縐嶅瀷寮忛€傜敤浜庡皢鐞冨艦琛ュ伩鍣ㄨ鍦ㄤ袱涓浐瀹氭敮鏋朵袱绔紝紱諱袱绔浐瀹氭敮鏋惰繎鐐圭殑鍦版柟銆?br/>3銆佸弻鍚戝紡瀹夎閫傜敤浜庣悆褰㈣ˉ鍋垮櫒璁懼湪涓ゅ浐瀹氱偣涓ょ錛岃緝涓洪€備腑鐨勪綅緗紝灝介噺浣緼孌電閬撻暱搴︿笌B孌電閬撻暱搴︾浉鎺ヨ繎鎴栬窛紱匯€傝繖縐嶅畨瑁呮柟寮忛€傜敤浜庨暱璺濈鐩寸嚎綆¢亾錛屽彲閲囩敤姘村鉤闈㈠畨瑁咃紝浜﹀彲閲囩敤鍨傜洿瀹夎銆?/p>
鐞冨艦琛ュ伩鍣ㄦ槸瑙e喅綆¢亾鐑儉鍐風緝鐨勪竴縐嶈澶囷紝鍙箍娉涘簲鐢ㄤ簬鍐墮噾銆佺煶娌廣€佸寲宸ャ€佺數鍔涖€佽交宸ャ€佺漢緇囥€佸緩絳戝拰鍥介槻寤鴻絳夎涓氫腑錛屽叿浣撶敤閫斿涓?錛?br/>1銆佺敤浜庣儹鍔涚閬撲腑錛岃ˉ鍋跨儹鑶ㄨ儉錛屽叾琛ュ伩鑳藉姏涓衡€滃唫鈥濊ˉ鍋垮櫒鐨?-10鍊嶃€?br/>2銆佺敤浜庣伀綆彂灝勫彴銆侀鏈烘帓姘旇鏂戒笂錛岃ˉ鍋垮啿鍑昏啫鑳€銆?br/>3銆佺敤浜庡喍閲戣澶囷紙濡傞珮鐐夈€佽漿鐐夈€佺數鐐夈€佸姞鐑倝絳夛級鐨勬苯鍖栧喎鍗寸郴緇熶腑錛屼綔涓囧悜鎺ュご鐢ㄣ€?br/>4銆佺敤浜庡緩絳戠墿鐨勫悇縐嶇閬撲腑錛岄槻姝㈠洜鍦板熀浜х敓涓嶅潎鍖€涓嬫矇銆佹垨鍦伴渿絳夋剰澶栧師鍥犲綆¢亾浜х敓鐮村潖銆?/p>
鍏О閫氬緞 錛わ籍 | 娉曞叞榪炴帴灝哄 | 瀵嗗皝闈?/strong> | 澶栧艦灝哄 | 鍙尃閲徫?/strong> 錛堬綇錛?/span> | 璐ㄩ噺 kg | |||||||||
娉曞叞澶栧緞 D | 铻烘爴瀛斾腑蹇冨渾鐩村緞K | 铻烘爴 瀛斿緞 d0 | 铻烘爴 | 鍘嬬洊澶栧緞 D0 | 鎬婚暱 L | |||||||||
| n錛堜釜錛?/span> | Th | |||||||||||||
100 | 210 | 170 | 18 | 4 | M16 | 148 | 282 | 290 | 15 | 42 | ||||
150 | 265 | 225 | 8 | 202 | 346 | 320 | 69 | |||||||
200 | 320 | 280 | 258 | 410 | 382 | 95 | ||||||||
250 | 475 | 335 | 12 | 312 | 464 | 410 | 130 | |||||||
300 | 440 | 395 | 22 | M20 | 365 | 535 | 430 | 175 | ||||||
350 | 490 | 445 | 415 | 607 | 470 | 237 | ||||||||
400 | 540 | 495 | 16 | 465 | 668 | 550 | 297 | |||||||
450 | 595 | 550 | 520 | 728 | 600 | 348 | ||||||||
500 | 645 | 600 | 20 | 570 | 798 | 689 | 410 | |||||||
600 | 755 | 705 | 26 | M24 | 670 | 918 | 725 | 615 | ||||||
700 | 860 | 810 | 24 | 775 | 1056 | 800 | 770 | |||||||
800 | 975 | 920 | 30 | M27 | 800 | 1160 | 893 | 936 | ||||||
900 | 1075 | 1020 | 980 | 1310 | 920 | 1345 | ||||||||
1000 | 1175 | 1120 | 28 | 1080 | 1443 | 975 | 1713 | |||||||
1200 | 1405 | 1340 | 33 | 32 | M30 | 1295 | 1693 | 1125 | 13 | 2218 | ||||
| 1400 | 1630 | 1560 | 36 | 36 | M33 | 1510 | 1942 | 1290 | 3463 | |||||
| 1600 | 1830 | 1760 | 40 | 1710 | 2164 | 1385 | 3603 | |||||||
| 1800 | 2045 | 1970 | 39 | 44 | M36 | 1920 | 2400 | 1580 | 10 | 4473 | ||||
| 2000 | 2265 | 2180 | 42 | 48 | M39 | 2125 | 2730 | 1870 | 5578 | |||||
| 2200 | 2475 | 2390 | 52 | 2335 | 2910 | 1950 | 6612 | |||||||
| 2400 | 2685 | 2600 | 56 | 2545 | 3135 | 2080 | 7623 | |||||||
濡傞渶鏈€鏂版暟鎹鑱旂郴鍦ㄧ嚎瀹㈡湇
娌沖崡鑹紬綆′笟鏈夐檺鍏徃 鎵嬫満鍙鳳細18638277136 鍥鴻瘽錛?371-64018718 浼犵湡錛?nbsp;0371-64018718 閭錛?50165323@qq.com 鍦板潃錛氬琺涔夊競瑗挎潙闀囪タ鏉?nbsp; 緗戝潃錛?a href="http://www.educard.com.cn" target="_self">http://www.educard.com.cn